服务新时代智慧检务,慧眼数据服务正当时
近日,由中国软件行业协会举办的2020年度软件产品推优评选活动名单揭晓。长春嘉诚信息技术股份有限公司(简称嘉诚信息)“慧眼数据服务平台V1.0”荣获“2020年度优秀软件产品”称号。这是业界对公司产品的高度认可,是对人工智能和大数据服务检察行业实践的肯定。
野生动物资源是大自然留给人类的宝贵财富,是人类社会的必需资源。新冠疫情的爆发牵动着给全国人民乃至全世界人民的心。随着疫情逐步得到有效控制,社会各界以及相关部门也开始对动物保护和公共卫生安全进行反思。非常时期,最高检坚决贯彻落实中央各项部署要求,下发《关于认真贯彻落实中央疫情防控部署坚决做好检察机关疫情防控工作的通知》,要求结合公益诉讼检察职能,积极开展源头防控。一方面严惩非法捕猎国家保护的野生动物的行为,注意发现野生动物保护中存在的监管漏洞,积极稳妥探索拓展野生动物保护领域的公益诉讼;另一方面,注意发现生鲜、肉类市场检验检疫中存在的漏洞,及时提出检察建议,促进完善相关治理措施。各地检察机关积极响应,从源头入手,发挥检察监督职能,探索野生动物保护公益诉讼以及公共安全事件公益诉讼。
在此背景下,嘉诚信息快速搭建“慧眼数据数据服务平台”,搭载“野生动物保护”的相关数据。从疫情的源头“野生动物保护”角度出发,搜集整理了野生动物相关的司法案例、法律法规及野生动物名录等知识内容。从检察官办案的场景出发,由法学研究团队主导,进行了涉疫方向的专项研究,网罗各类可能存在的违法行为,为检察官在野生动物保护领域提供办案思路的辅助支撑。
嘉诚信息慧眼数据服务平台
----专业支撑、高效检索、您身边的辅助办案专家!
慧眼数据服务平台以“知识图谱”为核心,结合专业法学团队的挖掘和分析,是一款专为检察官设计的数据服务型产品。平台支持在不同的业务场景中,为用户提供办案流程辅助、法律知识辅助、案源线索发现辅助等多方面的服务。平台还支持多维度筛选、关键词搜索等方式进行内容的快速检索,同时各类知识之间相互关联,为检察官提供全方位、智能化的服务。
1、热点数据服务
慧眼数据服务平台采用前端应用知识管理开发引擎,能够结合时下热点,快速搭建知识体系,形成不同的专题性数据服务。平台默认搭载了“野生动物保护”的相关数据,从疫情源头“野生动物”角度出发,搜集整理了野生动物相关的司法案例、法律法规及野生动物名录等知识内容,结合法学研究人员的维度分析,为检察官提供的专项数据服务。

2、基础数据服务
慧眼数据服务平台从检察官的日常办案需求出发,提供了全流程的数据支撑服务,如法律法规、权力清单、公益诉讼案例分析、检察文书等数据内容。
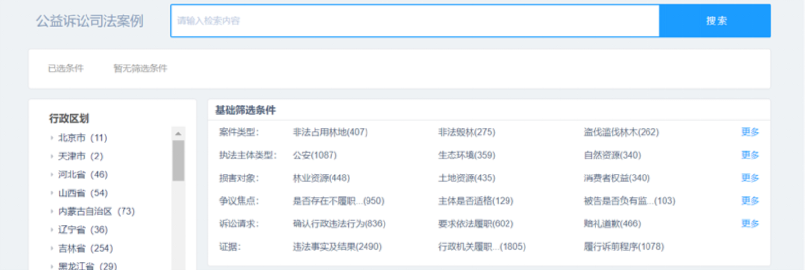
3、司法案例检索服务
慧眼数据服务平台以公益诉讼领域为重点支撑方向,聚焦检察院用户,为检察官提供多种案例数据的查询和检索,如公益诉讼司法案例、非诉执行裁定书等。平台是以知识团队自主研究的案例维度成果为基础,全面和细致的为用户提供案例检索服务。
4、更多服务
除默认搭载的数据和知识服务外,慧眼数据服务平台还会定期在更多服务中发布最新的专项和数据服务内容,让用户时间了解动向,高效应对各类业务需求。
嘉诚信息慧眼数据服务平台作为一款知识型的数据服务产品,通过美观易操作的界面提供数据检索、查看等功能,同时提供面对多种用户的全方位数据服务和解决方案。平台的可扩展性能够持续提供多类型多领域的数据服务,平台普遍适用于检察院、法院、政府机构、企事业单位、学校、研究机构等组织和个人的使用,能够辅助用户相关业务工作的完成,以及业务系统的建设支持。


